单机除尘器骨架有何技术要求
单机除尘器骨架有何技术要求

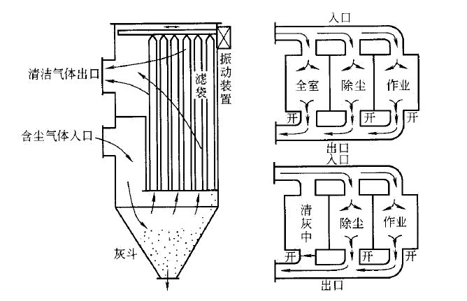
2、单机除尘器(作用:净化空气)骨架表面必须做防腐处理(chǔ lǐ),可用喷塑(spraying plastics)、涂漆或电镀,用于高温的防腐处理(chǔ lǐ)剂应满足高温的要。除尘器厂家就是把粉尘从烟气中分离出来的设备,除尘器的性能用可处理的气体量、气体通过除尘器时的阻力损失和除尘效率来表达。
3、除尘器(作用:净化空气)骨架所有的焊点必须牢固,不允许有脱焊、虚焊和漏焊;除尘器骨架与除尘滤袋(滤材: PE, PP, PTFE,PMIA ,NMO)接触的表面应光滑,不允许有焊疤凹凸不平和毛刺。
单机除尘器(作用:净化空气)骨架会出现哪些常见问题(Emerson)
1、在安装除尘配件除尘骨架过程(guò chéng)中,很有可能(maybe)会出现损坏除尘布袋的现象,从而导致(cause)除尘布袋的使用的时长(lifetime)缩短或者不能使用,特别是在生产(Produce)矿渣水泥(材料:粉状水硬性无机胶凝材料)工况上,表现更为明显。除尘布袋面料和设计应尽量追求高效过滤、易于粉尘剥离及经久耐用效果。除尘布袋的选用至关重要,它直接影响除尘器的除尘效果,选取用除尘布袋从下列几个方面选取择:气体的温度,潮湿度和化学性,颗粒大小,含尘浓度,过滤风速,清尘方式等因素。
2、除尘配件骨架的安装质量不符合除尘行业要求,没按照规定(guī dìng)的骨架安装方法与要求安装除尘滤袋(滤材: PE, PP, PTFE,PMIA ,NMO),布袋口未完全卡入除尘器(作用:净化空气)多板孔内或除尘布袋被敷衍(elaborate)地摆放在花板上,使用时出现掉袋现象或粉尘(形态:固体微粒)经由花板孔进入箱体(BOX),从而使除尘器失去本身除尘的作用。除尘器排灰装置的排灰能力。排灰装置的排灰能力应以能排出全部收下的粉尘为准,粉尘量等于入口含尘浓度乘以处理风量。
3、制作除尘配件除尘布袋的材料品质不一样,备用布袋的来源不一,不能保证布袋量。
4、花板设计不完善或制造质量差,除尘布袋与花板孔的棱边摩擦,缩短除尘布袋的寿命(lifetime)。
5、由于经验(experience)不足,常常将除尘布袋用水清洗后在使用,造成除尘布袋对粉尘(形态:固体微粒)的筛滤,碰撞,钩附,扩散作用减弱,阻力增加。




