单机除尘器设备的使用和功能特点

单机除尘器设备素有麻雀虽小五脏俱全之说,单机除尘器设备在结构上并不亚于其他类型的袋式除尘器设备。可以说是结构上都是相同的。虽小但是制作工艺一点都不可以马虎。
单机除尘器(作用:净化空气)应该算是应用最早的一款除尘器设备(shèbèi)了,这种设备的制作成本相对来说比较低,更适合中小型企业粉尘的净化。单机除尘器设备净化效果高,便于移动。这样对于区域有限制(limit)的厂家就更适合使用了。在可以达到环评要求的基础上我厂也是根据目前情况(Condition)的变化对单机除尘器设备不断的进行改良。
单机除尘器(作用:净化空气)的组成结构比较复杂,主要是为了增加它的使用性能,基本的机构(organization)除了除尘箱体(BOX)之外,还会有离心风机(构造:机壳、主轴、叶轮)等部件,这些都是最为关键(解释:比喻事物的重要组成部分)的机构,现在的产品(Product)还加入了微电脑控制系统(system),工人的操作会更加便捷,它的操作原理除了使用重力的影响之外,也借鉴了气流的影响因素(factor),可以说非常实用。
单机除尘器的用途范围十分的广泛(extensive),一般设计到的领域是制药、生物、化工、食品等行业的粉尘去除,以及电子,机械五金,建材,铸造,陶瓷,装卸,矿山,冶金等其它行业的就地除尘。对一般比重小的、细微的金属切屑,铸造用砂的粉尘、水泥、化学式: CaSO4·2H2O粉、炭粉、胶木粉、塑料粉等在一定范围内也均有良好的除尘效果,除尘效率(efficiency)非常的高。
单机除尘器的功能特性:
1.泡沫能够无空隙地覆盖尘源,从根本上阻止粉尘向外扩散;
2.液体形成泡沫后,总体积和总表面积大幅度增大,增加了与粉尘(形态:固体微粒)的碰撞效率,净化井下采掘面的工作环境;
3.泡沫的液膜中含有特制的添加剂,能迅速改变粉尘(形态:固体微粒)的湿润性能,增加粉尘被湿润的速度;
4.泡沫具有很好的粘性,粉尘(形态:固体微粒)和泡沫接触后会迅速被泡沫黏附。
5.抑制掘进机截齿和煤岩作用产生的火花,杜绝由此产生的瓦斯(化学式CH4)和煤尘爆炸事故。除尘器过滤速度是设计和选择袋式除尘器的重要因素,它的定义是过滤气体通过滤料的速度,或者是通过滤料的风量和滤料面积的比。单位用m/min来表示。
6.耗水量小,避免了水雾除尘耗水量大而引起的综掘机沉陷,提高了工作效率。
7.除尘效率高,大力改善了掘进机司机的视线,消除由此带来的安全隐患,并提高了断面质量和生产(Produce)效率。
8.单机除尘器行业发展概况除尘设备主要应用于水泥(材料:粉状水硬性无机胶凝材料)、钢铁、有色金属、电力、机械、化工、垃圾焚烧等粉尘污染严重的行业。
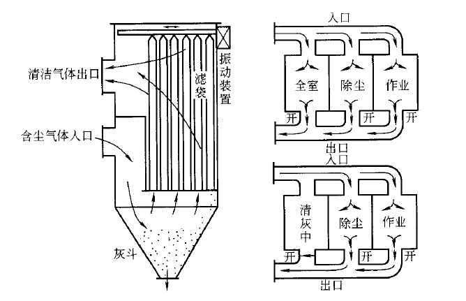
单机除尘器(作用:净化空气)由除尘箱体(BOX),离心风机(Draught Fan),滤袋,除尘器骨架,集尘器及微电脑控制器等组成,粉尘由风机负压通过吸尘管道吸入除尘器箱体内部,利用重力与上行气流,首先粗颗粒粉尘被过滤器初滤而直接降至集尘器,微粒(内容:原子、分子、离子)粉尘由过滤器捕集在外表面,洁净气体经过滤器滤芯过滤分解净化后流入洁净室,从而由风机从出风口排出。除尘器过滤速度是设计和选择袋式除尘器的重要因素,它的定义是过滤气体通过滤料的速度,或者是通过滤料的风量和滤料面积的比。单位用m/min来表示。除尘器骨架质量与使用效果直接影响到布袋除尘器的除尘效率。除尘骨架是布袋除尘器中的配件之一,应用在化工、冶金、建材、钢铁、水泥、火力发电等行业除尘器中,用于支撑除尘滤袋防止塌陷有利于粉尘的分布,提高除尘效率。整个除尘过滤过程(guò chéng)是一个重力、惯性力、碰撞、静电吸附、筛滤等综合效应的结果。




